skip book previous and next navigation links
go up to top of book: HP OpenVMS I/O User's Reference Manual HP OpenVMS I/O User's Reference Manual
go to beginning of chapter: Local Area Network (LAN) Device Drivers Local Area Network (LAN) Device Drivers
go to previous page: LAN I/O Architecture LAN I/O Architecture
go to next page: LAN Device InformationLAN Device Information
end of book navigation links

LAN Devices 



This section describes each LAN device, giving a list of device variants and device characteristics.

Some port drivers for these devices provide additional counters and device-specific functions that are useful for troubleshooting purposes. This additional data is described in a text file on the system, SYS$HELP:LAN_COUNTERS_AND_FUNCTIONS.TXT.

Driver-Specific Internal Counters 

Driver-specific internal counters consist of data maintained by a particular LAN driver that is not common across all LAN drivers or is not suitable for inclusion in LAN statistics and error counters.

The LANCP command SHOW DEVICE/INTERNAL_COUNTERS displays the internal counters maintained by a port driver. Some counters are special debug counters. These are not displayed unless the additional qualifier /DEBUG is specified. Counters that are zero are not displayed unless the additional qualifier /ZERO is specified.

The LAN$SDA SDA extension also displays the complete set of internal counters with the command LAN INTERNAL/DEVICE=devname.

VAX LAN drivers and some Alpha and I64 LAN drivers do not provide a LANCP or LAN$SDA mechanism for reading these counters. For these drivers, use SDA to display the internal counters using the command SHOW LAN/INTERNAL/DEVICE=devname.

The definition of these counters may change from one driver version to the next. Some counters fields describe device or driver information that is useful for debug of the driver but is not particularly interesting otherwise. This includes such fields as device register contents. The definition of these counters fields may be omitted from the SYS$HELP text file.

Device-Specific Functions 

The device-specific functions provice additional functionality that is useful for troubleshooting and validation of the port driver. These functions may change from one driver version to the next. And some functions may be incorporated into LANCP as a standard device command. These functions are supported on Alpha and I64 systems only.

Ethernet LAN Devices 

In general terms, Ethernet includes Fast Ethernet and Gigabit Ethernet devices. The following media types are used:

DEMNA Ethernet Device 

The DEMNA is an XMI bus Ethernet device that is supported on VAX and Alpha systems that have an XMI bus. A similar hardware design, the DEBNA, is intended for VAX systems with a BI bus. There are several variants of the DEBNA, the DEBNK, DEBNT, and DEBNI. Each device is implemented using a VAX chip and a LANCE chip. Firmware on the device runs on the VAX and operates the LANCE chip.

Table 9  DEMNA Characteristics
Device Bus Characteritics
DEMNA
XMI
10Base5 (thickwire) Ethernet only
DEBNI
BI
10Base5 (thickwire), Ethernet only
DEBNT
BI
10Base5 (thickwire), Ethernet + TK50 combo adapter
DEBNK
BI
10Base5 (thickwire), Ethernet + TK50 combo adapter
DEBNA
BI
10Base5 (thickwire), Ethernet + TK50 combo adapter

SGEC/TGEC Ethernet Devices 

The Second Generation Ethernet Controller (SGEC) is a embedded Ethernet chip (LOM) on a VAX workstation. The nearly identical Third Generation Ethernet Controller (TGEC) is embedded on the Alpha-based Digital 4000 system.

Table 10  SGEC/TGEC Characteristics
Device Bus Characteritics
SGEC
VAX
10Base2 (thinwire)
TGEC
Alpha
10Base2 (thinwire)

LANCE Ethernet Devices 

The LANCE is a widely used Ethernet chip used on VAX and Alpha systems. It is used in in embedded (LOM) configurations on VAX and Alpha systems, and in QBUS and TURBOchannel-based NICs on VAX and Alpha systems.

Table 11  LANCE Characteristics
Device Bus Characteritics
LANCE
VAX, Alpha
LOM, 10Base2 (thinwire)
PMAD
VAX, Alpha
TURBOchannel NIC, 10Base5 (thickwire)
DELTA
VAX, Alpha
Dual TURBOchannel, 10Base5 (thickwire)
DESQA
VAX
QBUS NIC, 10Base2 (thinwire), 10Base5 (thickwire)
KFE52
VAX
Fault-tolerant VAX, 10Base2 (thinwire)
DE422
Alpha
EISA, 10BaseT (UTP), 10Base2 (thinwire)
DE200
Alpha
ISA, 10Base2 (thinwire), 10Base5 (thickwire)
DE201
Alpha
ISA, 10BaseT (UTP)
DE202
Alpha
ISA, 10Base2 (thinwire), 10BaseT (UTP)

LANCE Hardware Configuration   For implementations that include both the 10Base2 and 10Base5 ports, a switch next to the physical connectors determines the port selection.

The DE422 includes a jumper block on the NIC that selects 10BaseT or 10Base2.

The DE20x NICs are configured by a 12-pin DIP switch on the NIC. See the DE20x User Guide for details.

DEQNA Ethernet Devices 

The DEQNA and similar NICs are used in QBUS-based VAX systems.

Table 12  DEQNA Characteristics
Device Characteritics
DEQNA
Not supported for cluster use. 10Base2 (thinwire), 10Base5 (thickwire)
DELQA
LANCE-based DEQNA replacement, 10Base2 (thinwire), 10Base5 (thickwire)
DEQTA
DELQA with new firmware, 10Base2 (thinwire), 10Base5 (thickwire)

DEUNA Ethernet Devices 

The DEUNA and similar NICs are used in Unibus-based VAX systems.

Table 13  DEUNA Characteristics
Device Characteritics
DEUNA
10Base5 (thickwire)
DELUA
DEUNA replacement, 10Base5 (thickwire)

LEMAC Ethernet Devices 

The DE203 and variants are based on the LEMAC chip. These NICs are used on ISA-based Alpha workstations, primarily the AlphaStation 200 and 400 system.

Table 14  LEMAC Characteristics
Device Characteritics
DE203
10Base2 (thinwire)
DE204
10BaseT (UTP)
DE205
10Base2 (thinwire), 10Base5 (thickwire), 10BaseT (UTP)

ISA LEMAC Hardware Configuration   The DE203 NIC and variants are configured by the console of AlphaStations 200 and 400 systems using the 'isacfg' console utility. First, an ISA slot number is chosen, then the IRQ, IO base address, and DMA channel address. Then the slot is configured with the selected characteristics. When the system is reset or power-cycled, the console configures the device as specified.

For complete information on using 'isacfg' from your console prompt, refer to the hardware documentation associated with your system for more information.

The ISA slot number is any one of three available slots that is not already in use. The physical location of the NIC in the ISA bus is of no consequence as any free slot can be assigned to the NIC.

To initialize the 'isacfg' data at the console prompt:

>>> isacfg -init
To add a DE205 in slot 1, using IRQ 15:
>>> add_de205>>>isacfg -slot 1 -dev 0 -mod -irq 15
To display the ISA configuration data for slot 1:
>>>isacfg -slot 1
============================================================= 
handle: DE200-LE 
etyp: 1  
slot: 1 
dev: 0 
enadev: 1 
totdev: 1 
iobase0: 300    iobase1: 8000000000000000 
iobase2: 8000000000000000   iobase3: 8000000000000000 
iobase4: 8000000000000000   iobase5: 8000000000000000 
membase0: d0000   memlen0: 10000 
membase1: 8000000000000000   memlen1: 8000000000000000 
membase2: 8000000000000000   memlen2: 8000000000000000 
rombase: 8000000000000000   romlen:   8000000000000000 
dma0: 80000000          irq0: f 
dma1: 80000000          irq1: 80000000 
dma2: 80000000          irq2: 80000000 
dma3: 80000000          irq3: 80000000    =============================================================
To display the ISA configuration at the console prompt, showing, in this example, a DE203 configured in slot 1, and two DW110 Token Ring NICs configured in slots 2 and 3.
>>> show config
 
    ISA
    Slot    Device  Name            Type         Enabled  BaseAddr  IRQ     DMA
    0
            0       MOUSE           Embedded        Yes     60      12
            1       KBD             Embedded        Yes     60      1
            2       COM1            Embedded        Yes     3f8     4
            3       COM2            Embedded        Yes     2f8     3
            4       LPT1            Embedded        Yes     3bc     7
            5       FLOPPY          Embedded        Yes     3f0     6       2
    1       0       DE200-LE        Singleport      Yes     300     15
    2       0       DW11            Singleport      Yes     a20     10      7
    3       0       DW11            Singleport      Yes     1a20    5       6

3C589 Ethernet Device 

The 3COM 3C589 PCMCIA NIC is used on the Tadpole AlphaBook notebook system. There are two variants:

Table 15  3C589 Characteristics
Device Characteritics
3C589B
10Base2 (thinwire), 10BaseT (UTP)
3C589D
10Base2 (thinwire), 10BaseT (UTP)

Tulip Ethernet and Fast Ethernet Devices 

Tulip refers to an Ethernet chip designed by Digital Equipment Corporation. It also refers to later Fast Ethernet versions of the chip that maintain a similar programming interface, so can be controlled by the same driver with few changes.

Table 16  Tulip Ethernet and Fast Ethernet Characteristics
Device Bus Characteristics
DE425
EISA
10Base2 (thinwire), 10Base5 (thickwire), 10BaseT (UTP)
DE434
PCI
10BaseT (UTP)
DE435
PCI
10Base2 (thinwire), 10Base5 (thickwire), 10BaseT (UTP)
DE436
PCI
Quad DE435
DE450
PCI
10Base2 (thinwire), 10Base5 (thickwire), 10BaseT (UTP)
DE500-XA
PCI
10BaseT (UTP), 100BaseTX (UTP), auto-negotiation not supported
DE500-AA
PCI
10BaseT (UTP), 100BaseTX (UTP), auto-negotiation supported
DE500-BA
PCI
10BaseT (UTP), 100BaseTX (UTP), auto-negotiation supported
DE500-FA
PCI
100BaseFX (multimode fiber), auto-negotiation not supported
DE504-BA
PCI
Quad DE500-BA
P2SE
PCI
Combo SCSI + DE434
P2SE+
PCI
Combo SCSI + DE500-XA
21142
PCI
LOM, Digital Personal Workstation, all modes depending on MAU options, auto-negotiation supported
21143
PCI
LOM, Alpha Professional Workstation XP900/XP1000, all modes depending on MAU options, auto-negotiation supported
A5230A
PCI
DE500-BA equivalent
A5506B
PCI
DE504-BA equivalent

Tulip Hardware Configuration   The DE425 and DE435 contain a hardware jumper block that selects twisted-pair or AUI as noted on the printed circuit board. AUI includes 10Base2 (thinwire) or 10Base5 (thickwire) and this selection is made by setting a console environment variable, by a driver autosense algorithm, or by a LANCP command to set the media type, speed, and duplex mode.

On Alpha systems prior to OpenVMS Version 7.1, the Tulip driver autosenses the media connection if needed.

On Alpha systems starting with OpenVMS Version 7.1, the Tulip driver uses the setting of a console environment variable to select the media connection, speed, and duplex mode. The console environment variable is called EWx0_MODE where x is the controller letter (for example, A, B, C, ...). The console environment variable is set with the command:

SET EWx0_MODE media_selection
The media_selection is defined by Tulip Hardware Media Selection.

Table 17   Tulip Hardware Media Selection
Media selection What is selected
Twisted-pair
10BaseT (UTP) half-duplex
Full duplex, twisted-pair
10BaseT (UTP) full-duplex
AUI
10Base5 (thickwire)
BNC
10Base2 (thinwire)
Fast
100BaseTX (UTP) half-duplex
FastFD (full duplex)
100BaseTX (UTP) full-duplex
Autonegotiate
Auto-negotiate speed and duplex (UTP)

uring driver initialization, a message is sent to the operator's console to indicate the console selection.

If a console environment variable has been set with an unsupported media type for the actual device, then the driver selects a default media type.

An Alpha system console may assign a controller letter to an adapter differently from OpenVMS, since OpenVMS EW devices include Tulip, DEGPA, and Broadcom 5700, but the console only recognizes Tulip devices as EW devices. In this case, you can compare the MAC address listed for the device at the console SHOW CONFIG and the LANCP SHOW CONFIG commands.

On I64 systems, there is no console environment variable equivalent, so the default setting is autonegotiation.

On Alpha and I64 systems, you can override the console environment variable setting or default setting of auto-negotation by describing the media selection in the LANCP permanent device database.

Intel 82559 Fast Ethernet Devices 

82559 refers to a Fast Ethernet chip designed by Intel Corporation, either the 82558 or the 82559 chip. These chips are implemented on PCI bus NICs or a embedded PCI bus on the system board. Both chips support autonegotiation. Intel 82559 Fast Ethernet Characteristics lists the Intel 82559 Fast Ethernet characteristics.

Table 18   Intel 82559 Fast Ethernet Characteristics
Device Characteristics
DE600-AA
10BaseT (UTP), 100BaseTX (UTP)
DE602-AA
Dual DE600-AA
DE602-BA
Dual DE600-AA
DE602-BB
Dual DE600-AA
DE602-TA
Dual DE600-AA daughter card for the DE602
DE602-FA
Dual 100BaseFX (multimode fiber) daughter card for the DE602
Trifecta
Combo SCSI + DE600
82559ER
LOM, 10BaseT (UTP), 100BaseTX (UTP)
82559
LOM, 10BaseT (UTP), 100BaseTX (UTP)

82559 Hardware Configuration   On Alpha systems, the 82559 driver uses the setting of a console environment variable to select the media connection, speed, and duplex mode. The console environment variable is called EIx0_MODE where x is the controller letter (e.g., A, B, C, ...). The console environment variable is set with the command:

SET EWx0_MODE media_selection
The media_selection is defined by Intel 82559 Fast Ethernet Characteristics.

Table 19  82559 Hardware Media Selection
Media selection What is selected
Twisted-pair
10BaseT (UTP) half-duplex
Full duplex, twisted-pair
10BaseT (UTP) full-duplex
Fast
100BaseTX (UTP) half-duplex
FastFD (full duplex)
100BaseTX (UTP) full-duplex
Autonegotiate
Auto-negotiate speed and duplex (UTP)

During driver initialization, a message is sent to the operator's console to indicate the console selection.

If a console environment variable has been set with an unsupported media type for the actual device, then the driver selects a default media type.

On I64 systems, there is no console environment variable equivalent, so the default setting is auto-negotiation.

On Alpha and I64 systems, you can override the console environment variable setting or default setting of auto-negotiation by describing the media selection in the LANCP permanent device database.

DEGPA Gigabit Ethernet Devices 

The DEGPA series of Gigabit Ethernet NICs uses the Tigon2 chip, designed by Alteon Networks..

DEGPA Devices lists and describes the devices and drivers of the DEGPA.

Table 20   DEGPA Devices
Device Characteristics
DEGPA-SA
1000BaseSX (multimode fiber)
DEGPA-TA
10BaseT (UTP), 100BaseTX (UTP), 1000BaseT (UTP)

DEGPA Hardware Configuration   The DEGPA NICs are supported only on Alpha systems. The DEGPA is not a bootable device and has no console support, therefore has no console environment variable mode setting for configuration, and the default setting is auto-negotiation.

You can override the default setting of auto-negotiation by describing the media selection in the LANCP permanent device database.

Broadcom 5700 Gigabit Ethernet Devices 

The Broadcom 5700 refers to a family of Gigabit Ethernet chips designed by Broadcom Corporation. The 5700 NICs described here use two almost identical variants, the 5701 and 5703 chips.

Table 21  Broadcom 5700 Characteristics
Device Bus Characteritics
DEGXA-SA
PCI
1000BaseSX (multimode fiber)
DEGXA-TA
PCI
10BaseT (UTP), 100BaseTX (UTP), 1000BaseT (UTP)
DEGXA-SB
PCI-X
1000BaseSX (multimode fiber)
DEGXA-TB
PCI-X
10BaseT (UTP), 100BaseTX (UTP), 1000BaseT (UTP)
BCM5703 (LOM)
PCI
10BaseT (UTP), 100BaseTX (UTP), 1000BaseT (UTP)
A6847A
PCI
1000BaseSX (multimode fiber)
A6825A
PCI
10BaseT (UTP), 100BaseTX (UTP), 1000BaseT (UTP)
AB352A
PCI-X
10BaseT (UTP), 100BaseTX (UTP), 1000BaseT (UTP)
A9782A
PCI-X
1000BaseSX (multimode fiber)
A9784A
PCI-X
10BaseT (UTP), 100BaseTX (UTP), 1000BaseT (UTP)
AB454A
PCI-X
10BaseT (UTP), 100BaseTX (UTP), 1000BaseT (UTP)
BCM5701 (LOM)
PCI
10BaseT (UTP), 100BaseTX (UTP), 1000BaseT (UTP)

5700 Hardware Configuration   On Alpha systems, the 5700 driver uses the setting of a console environment variable to select the speed and duplex mode. The console environment variable is called EGx0_MODE where x is the controller letter (e.g., A, B, C, ...). The console environment variable is set with the command:

SET EGx0_MODE media_selection
The media_selection is defined by

Table 22   5700 Hardware Media Selection
Media selection What is selected
auto
Auto-negotiate speed and duplex (UTP)
10mbps
10BaseT (UTP) half-duplex
10mbps_full_duplex
10BaseT (UTP) full-duplex
100mbps
100BaseTX (UTP) half-duplex
100mbps_full_duplex
100BaseTX (UTP) full-duplex
1000mbps
1000BaseT (UTP) half-duplex
1000mbps_full_duplex
1000BaseT (UTP) full-duplex

5700 Hardware Media Selection.

During driver initialization, a message is sent to the operator's console to indicate the console selection.

If a console environment variable has been set with an unsupported media type for the actual device, then the driver selects a default media type.

An Alpha system console may assign a controller letter to an adapter differently from OpenVMS, since OpenVMS EW devices include Tulip, DEGPA, Broadcom 5700, but the console only recognizes 5700 devices as EW devices. In this case you can compare the MAC address listed for the device at the console SHOW CONFIGURATION and LANCP SHOW CONFIGURATION commands.

On I64 systems, there is no console environment variable equivalent, so the default setting is auto-negotiation.

On Alpha and I64 systems, you can override the console environment variable setting or default setting of auto-negotiation by describing the media selection in the LANCP permanent device database.

Intel 82540 Gigabit Ethernet Devices 

The Intel 82540 refers to a family of Gigabit Ethernet chips designed by Intel Corporation. The variant used on these NICs is the Anvik2 chip.

Table 23  Intel 82540 Characteristics
Device Bus Characteritics
A7011A
PCI-X
Dual 1000BaseSX (multimode fiber)
A7012A
PCI-X
Dual 10BaseT (UTP), 100BaseTX (UTP), 1000BaseT (UTP)

82540 Hardware Configuration    The 82540 devices are supported only on I64 systems. The default setting is autonegotiation.

You can override the default setting of auto-negotation by describing the media selection in the LANCP permanent device database.

Shared Memory Ethernet Device 

The Shared Memory device is an emulated Ethernet device that uses Galaxy Shared Memory on Alpha systems. Each Galaxy partion is considered a network node. The driver uses shared memory to send packet data from one node to another. Applications see the Shared Memory device as just another Ethernet device.

FDDI LAN Devices  

FDDI devices support the following media

DEMFA FDDI Device 

The DEMFA is an XMI bus FDDI device that is supported on VAX and Alpha systems that have an XMI bus. The DEMFA is a firmware based FDDI controller that uses an Motorolla 68000 microprocessor to implement a host interface and the necessary FDDI support functionality.

Table 24  DEFMA FDDI Charactertics
Device Bus Characteristics
DEMFA
XMI
Multimode fiber, 100 megabits/second

DEFZA FDDI Device 

The DEFZA is a TurboChannel FDDI device supported on VAX and Alpha TURBOchannel-based systems.

Table 25  DEFZA FDDI Charactertics
Device Bus Characteristics
DEFZA
TurboChannel
Multimode fiber, 100 megabits/second

PDQ FDDI Devices 

The PDQ chip forms the basis of a family of FDDI devices. These are shown in PDQ FDDI Charactertics

Table 26   PDQ FDDI Charactertics
Device Bus Characteristic
DEFQA-SA
QBUS
Multimode fiber, single attached station (SAS), 100 megabits/second
DEFQA-DA
QBUS
Multimode fiber, dual attached station (DAS), 100 megabits/second
DEFQA-SF
QBUS
UTP, single attached station (SAS), 100 megabits/second
DEFQA-DF
QBUS
UTP, dual attached station (DAS), 100 megabits/second
DEFTA-AA
TurboChannel
Multimode fiber, single attached station (SAS), 100 megabits/second
DEFTA-DA
TurboChannel
Multimode fiber, dual attached station (DAS), 100 megabits/second
DEFTA-UA
TurboChannel
UTP, single attached station (SAS), 100 megabits/second
DEFTA-MA
TurboChannel
UTP, dual attached station (DAS), 100 megabits/second
DEFAA-AA
FutureBus+
Multimode fiber, single attached station (SAS), 100 megabits/second
DEFAA-DA
FutureBus+
Multimode fiber, dual attached station (DAS), 100 megabits/second
DEFEA-AA
EISA
Multimode fiber, single attached station (SAS), 100 megabits/second
DEFEA-DA
EISA
Multimode fiber, dual attached station (DAS), 100 megabits/second
DEFEA-UA
EISA
UTP, single attached station (SAS), 100 megabits/second
DEFEA-MA
EISA
UTP, dual attached station (DAS), 100 megabits/second
DEFPA-AA
PCI
Multimode fiber, single attached station (SAS), 100 megabits/second
DEFPA-DA
PCI
Multimode fiber, dual attached station (DAS), 100 megabits/second
DEFPA-UA
PCI
UTP, single attached station (SAS), 100 megabits/second
DEFPA-MA
PCI
UTP, dual attached station (DAS), 100 megabits/second

Token Ring LAN Devices 

Token Ring devices support the following media types:

TMS380 Token Ring Devices 

The Texas Instruments TMS380 chip forms the basis of a family of Token Ring devices. These are shown in TMS380 Token Ring Charactertics.

Table 27   TMS380 Token Ring Charactertics
Device Bus Characteristics
DETRA
TurboChannel
4/16 megabits/second, STP or UTP
DW300
EISA
4/16 megabits/second, STP or UTP
DW110
ISA
4/16 megabits/second, STP or UTP, aka P1392+
TC4048
PCI
4/16 megabits/second, STP or UTP, made by Thomas Conrad Corporation
M8154
PCI
4/16 megabits/second, STP or UTP, made by Racore Computer Products, Inc.

ISA TMS380 Hardware Configuration   The DW110 is a bus mastering DMA device on the ISA bus. In addition to setting up the ISA I/O parameters, you may configure ring speed (4 or 16 megabits/second) and media (UTP or STP). By using LANCP you can also configure ring speed and media during system startup. Using the 'isacfg' at Console Prompt with the DW110 shows how to configure the OpenVMS software to use the DW110 device.

The method for configuring an ISA TMS380 device is to type 'isacfg' at the console prompt (>>>). For complete information on using 'isacfg' from your console prompt, refer to the hardware documentation associated with your system for more information.

The following example illustrates a configuration of:

Example 1  Using the 'isacfg' at Console Prompt with the DW110  
>>> isacfg -slot 4 -etyp 1 -ena 1 -irq0 %xa -dmachan0 7
           -iobase0 %x4e20 -handle "DW11,STP,16" -mk


The -mk command makes an isacfg entry for an ISA device at slot 4. It is a Single port type of device (-etyp 1). The -handle parameter tells the operating system that this is a DW110 device, that STP media is to be used, and the ring speed is 16.

ATM LAN Devices 

Asynchronous transfer mode (ATM) is a cell-oriented switching technology that uses fixed-length packets to carry different types of data.

The ATM communicates by first establishing endpoints between two computers with a virtual circuit (VC) through one or more ATM switches. ATM then provides a physical path for data flow between the endpoints by either a permanent virtual circuit (PVC), or a switched virtual circuit (SVC).

OpenVMS provides LAN Emulation Client (LEC) support over ATM. The LAN Emulation Client software supports IEEE/802.3 Emulated LANs, and UNI 3.0 or UNI 3.1 and the following maximum frame size (in bytes): 1516, 4544, and 9234.

The Emulated LAN driver provides the means for communicating over the LAN ATM. The device type for the Emulated LAN device is DT$_EL_ELAN.

The device name for the Emulated LAN is:

ELcu

where c is the controller and u is the unit number (for example, ELA0).

ATM devices support the following media types:

OTTO ATM Devices 

OTTO refers to a family of ATM adapters developed by Digital Equipment Corporation. The TurboChannel adapter is named OTTO. The PCI DGLPB adapter is named OPPO. OTTO and OPPO are programmable logic designs where the driver loads firmware onto the adapters to program the FPGA devices. The DGLPA is a single chip ATM adapter that is a considerably different implementation but lumped into this same category.

Table 28  OTTO ATM Charactertics
Device Bus Characteristics
DGLTA
TurboChannel
155 megabits/second (OC3), multimode fiber
DGLPB
PCI
155 megabits/second (OC3), multimode fiber
DGLPA-UA
PCI
155 megabits/second (OC3), UTP
DGLPA-FA
PCI
155 megabits/second (OC3), multimode fiber

The OTTO drivers support ATM LAN Emulation according to the ATM LANE standards, and Classical IP over ATM according to RFC 1577.

FORE ATM Devices 

The DAPBA and DAPCA are ATM adapters made by Fore Networks, Inc., now part of Marconi Corporation, Plc.

The FORE drivers support ATM LAN Emulation according to the ATM LANE standards.

Table 29  FORE ATM Charactertics
Device Characteristics
DAPBA-UA
155 megabits/second (OC3), UTP
DAPBA-FA
155 megabits/second (OC3), multimode fiber
DAPCA-FA
622 megabits/second (OC12), multimode fiber

For each DAPBA, HP recommends increasing the SYSGEN parameter NPAGEVIR by 3000000. For each DAPCA, HP also recommends increasing NPAGEVIR by 6000000. To do this, add the ADD_NPAGEVIR parameter to MODPARAMS.DAT and then run AUTOGEN. For example, add the following command to MODPARAMS.DAT on a system with two DAPBAs and one DAPCA:

ADD_NPAGEVIR = 12000000
The following restrictions apply to the DAPBA and DAPCA adapters.

Permanent Virtual Circuits (PVC) 

Permanent Virtual Circuits are set up and torn down by prior arrangement. They are established manually by a user before the sending of any data between endpoints on a network. Some PVCs are defined directly on the switch; others are predefined for use in managing switched virtual circuits (SVCs).

Switched Virtual Circuits (SVC) 

Switched virtual circuits require no operator interaction to create and manage connections between endpoints. Software sets up and tears down connections dynamically as they are needed through the request of an endpoint.

LAN Emulation over an ATM Network 

LAN emulation over an ATM network network allows existing applications to run essentially unchanged while also allowing the applications to run on computers directly connected to the ATM network. The LAN emulation hides the underlying ATM network at the media access control (MAC) layer, which provides device driver interfaces.

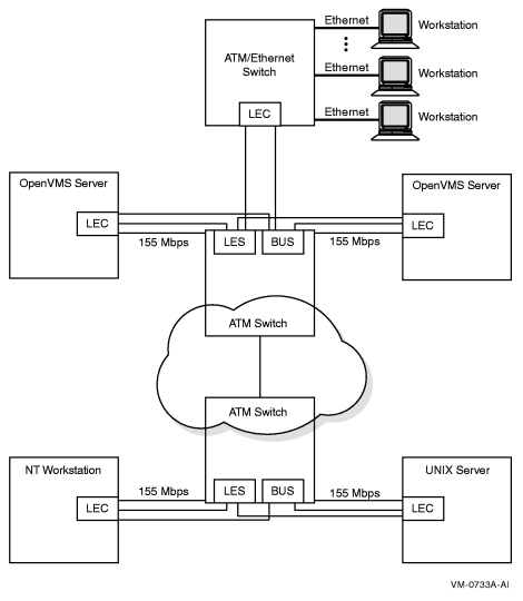
Components of LAN Emulation over an ATM Network shows the four components that make up a LAN emulation over ATM network. Of the four components, OpenVMS supports only the LAN emulation client (LEC). The remaining components are provided by the ATM switch.

Table 30   Components of LAN Emulation over an ATM Network
Component Function
LAN emulation client (LEC)
Provides a software driver that runs on a network client and enables LAN clients to connect to an ATM network.
LAN emulation server (LES)
Maintains a mapping between LAN and ATM addresses by resolving LAN media access control (MAC) addresses with ATM addresses.
Broadcast and Unknown Server (BUS)
Maintains connections with every LAN emulation client (LEC) in the network. For broadcast messages, the BUS sends messages to every attached LEC. The LECs then forward the message to their respectively attached LANs. For multicast messages, the BUS sends messages to only those LECs that have devices in the multicast group. For a LEC that wants to send a regular message whose destination MAC address is unknown, the BUS can be used to determine this address.
LAN emulation configuration server (LECS)
Provides a service for LAN emulation clients by helping to determine which emulated LAN each of the LEC's registered users should join, since each client can specify which emulated LAN to join.

The LEC exists on all ATM-attached computers that participate in the LAN emulation configuration. LEC provides the ATM MAC-layer connectionless function that is transparent to the LAN-type applications. The LEC, LES, and BUS can exist on one ATM-attached computer or on separate computers. The server functions usually reside inside an ATM switch, but can be implemented on client systems.

LAN Emulation Topology 

Emulated LAN Topology shows the topology of a typical emulated LAN over ATM. 

Figure 10  Emulated LAN Topology  
Emulated LAN Topology

Classical IP Over an ATM Network 

Classical IP (CLIP) implements a data-link level device that has the same semantics as an Ethernet interface (802.3). This interface is used by a TCP/IP protocol to transmit 802.3 (IEEE Ethernet) frames over an ATM network. The model that OpenVMS follows for exchanging IP datagrams over ATM is based on RFC 1577 (Classical IP over ATM).

For information on using LANCP commands to manage Classical IP, refer to the HP OpenVMS System Management Utilities Reference Manual.

Specifying the User to Network Interface (UNI) 

The ATM software is set to autosense the UNI version by default. Setting bit 3 of the system parameter, LAN_FLAGS, to 1 enables UNI 3.0 over all ATM adapters. Setting bit 4 of the system parameter, LAN_FLAGS, to 1 enables UNI 3.1 over all ATM adapters.

Enabling SONET/SDH 

The ATM drivers have the capability of operating with either synchronous optical network (SONET) or Synchronous Digital Hierarchy (SDH) framing. Setting bit 0 of the system parameter, LAN_FLAGS, to 1 enables SDH framing. Setting bit 0 of the system parameter, LAN_FLAGS, to 0 enables SONET framing (default). For this to take affect, the system parameter must be specified correctly before the ATM adapter driver is loaded.

Booting 

OpenVMS Alpha does not support ATM adapters as boot devices.

Configuring an Emulated LAN (ELAN) 

The LANCP utility sets up an Emulated LAN (ELAN). If the ELAN is defined in the permanent database, these settings take effect at boot time. To define the commands in the permanent database for specific adapters, you invoke the DEFINE DEVICE commands. Once these commands define the adapters in the permanent database, the ELAN can be started during system startup.

You can also invoke the LANCP SET commands to start up an ELAN after the system is booted.

The following example shows the DEFINE DEVICE commands that define the adapter in the permanent database:

$ mcr lancp
LANCP> define device ela0/elan=create
LANCP> define device ela0/elan=(parent=hwa0,type=csmacd,size=1516)
LANCP> define device ela0/elan=(descr="An ATM ELAN")
LANCP> define device ela0/elan=enable=startup
LANCP> list dev ela0/param
 
Device Characteristics, Permanent Database, for ELA0:
                  Value  Characteristic
                  ----  ----------
                   HWA0  Parent ATM device
          "An ATM ELAN"  Emulated LAN description
                   1516  Emulated LAN packet size
                CSMA/CD  Emulated LAN type
                    Yes  Emulated LAN enabled for startup
LANCP> exit
$
The following example shows the SET DEVICE commands required for setting up an ELAN with the desired parameters. Note that some of the commands generate a console message.
$ mcr lancp
LANCP> set dev ela0/elan=create
 
%%%%%%%%%%%  OPCOM  26-MAR-2001 16:57:12.89  %%%%%%%%%%%
Message from user SYSTEM on ALPHA1
LANACP LAN Services
Found LAN device ELA0, hardware address 00-00-00-00-00-00
 
LANCP> set dev ela0/elan=(parent=hwa0,type=csmacd,size=1516)
LANCP> set dev ela0/elan=(descr="An ATM ELAN")
LANCP> set dev ela0/elan=enable=startup
 
%ELDRIVER, LAN Emulation event at 26-MAR-1996 16:57:28.78
%ELDRIVER, LAN Emulation startup: Emulated LAN 1 on device ELA0
 
LANCP> sho dev ela/char
 
   Device Characteristics ELA0:
                  Value  Characteristic
                  ----  ----------
                 Normal  Controller mode
               External  Internal loopback mode
                CSMA/CD  Communication medium
                     16  Minimum receive buffers
                     32  Maximum receive buffers
                     No  Full duplex enable
                     No  Full duplex operational
            Unspecified  Line media
                     10  Line speed (megabits/second)
                CSMA/CD  Communication medium
                 "HWA0"  Parent ATM Device
          "An ATM ELAN"  Emulated LAN Description
   3999990000000008002B  LAN Emulation Server ATM Address
   A57E80AA000302FF1300
                Enabled  Emulated LAN State
LANCP> exit
$
For information about using LANCP and system manager commands with qualifiers for LAN emulation over ATM networks, refer to the HP OpenVMS System Management Utilities Reference Manual and HP OpenVMS System Manager's Manual.
go to previous page: LAN I/O Architecture LAN I/O Architecture
go to next page: LAN Device InformationLAN Device Information