Similarly, the DCL command DISMOUNT has been enhanced by the
addition of the qualifier /FORCE_REMOVAL ddcu:.
This qualifier has been added for the same purpose -- to
give system managers greater control of shadow set members located
at different sites. For more information about this qualifier, see
Removing Members from Shadow Sets.
Table 3 SET DEVICE Command Qualifiers for Multiple-Site Shadow Set Members
|
Qualifier
|
Function
|
/ABORT_VIRTUAL_ UNIT DSAnnnn:
|
Use this qualifier when you know that
the unit cannot be recovered. When you use this qualifier, the shadow
set must be in mount verification. The shadow set aborts mount verification
immediately on the node from which the command is issued. If the
shadow set is not in mount verification, this command returns the error
%SYSTEM-E-UNSUPPORTED, unsupported operation or function.
After
this command completes, the shadow set must still be dismounted.
Use the following command to dismount the shadow set: $ DISMOUNT/ABORT DSAnnnn
|
/COPY_SOURCE (ddcu:,
DSAnnnn: )
|
Specifies whether one (ddcu:)
or both (DSAnnnn:) source members of a shadow set
are used as the source for read data during full copy operations,
when a third member is added to the shadow set. This affects only
copy operations that do not use DCD operations.
Some
storage controllers, such as the HSG80, have a read-ahead cache,
which significantly improves single-disk read performance. Copy
operations normally alternate reads between the two source members,
which effectively nullifies the benefits of the read-ahead cache.
This qualifier lets you force all reads from a single source member
for a copy operation.
If the shadow set (DSAnnnn:)
is specified, then all reads for full copy operations will be performed
from the disk that is the current "master" member,
regardless of physical location of the disk.
If a shadow
set member (ddcu:) is specified, that member
will be used as the source of all copy operations. This allows you
to choose a local source member, rather than a remote master member.
|
/FORCE_REMOVAL ddcu:
|
Expels the specified shadow set member
from the shadow set.
If connectivity to a device has
been lost and the shadow set is in mount verification, this qualifier
causes the member to be expelled from the shadow set immediately.
If
the shadow set is not currently in mount verification, no immediate
action is taken. If connectivity to a device has been lost but the
shadow set is not in mount verification, this qualifier lets you
flag the member to be expelled from the shadow set, as soon as it
does enter mount verification. .
The specified device
must be a member of a shadow set that is mounted on the node where
the command is issued
|
/MEMBER_TIMEOUT= n ddcu:
|
Specifies the timeout value to be used
for shadow set member.
The value supplied by this qualifier
overrides the SYSGEN parameter SHADOW_MBR_TMO for this specific
device. Each member of a shadow set can be assigned a different
MEMBER_TIMEOUT value.
The valid range for n is
1 to 16,777,215 seconds.
The device specified must be
a member of a shadow set that is mounted on the node where the command
is issued.
After you have applied this qualifier to
a member, the setting remains in effect as long as the member is
part of the shadow set. If the member is removed from the shadow
set and later returned, this qualifier must be specified again.
|
/MVTIMEOUT=n DSAnnnn:
|
Specifies the mount verification timeout
value to be used for this shadow set, specified by its virtual unit
name (DSAnnnn).
The value supplied
by this qualifier overrides the SYSGEN parameter MVTIMEOUT for this
specific shadow set.
The valid range for n is
1 to 16,777,215 seconds. The specified shadow set must be mounted
on the node where the command is issued.
After you have
applied this qualifier, the setting remains in effect as long as
the shadow set is mounted. If the shadow set is dismounted and later
remounted, this qualifier must be specified again
|
/READ_COST=n ddcu:
|
Enables you to modify the default cost
assigned to each shadow set member. By modifying the assignments,
you can bias the reads in favor of one member of a two-member shadow
set, or, in the case of three-member shadow sets, in favor of one
or two members of the set over the remaining members. The specified device
must be a shadow set member that is mounted on the node where the command
is issued.
The valid range for the specified cost is
1 to 65,535 units.
The value supplied by the /READ_COST
qualifier overrides the default assignment. The shadowing driver
adds the value of the current queue depth of the shadow set member
to the READ_COST value and then reads from the member with the lowest
value.
The shadowing driver assigns default READ_COST
values to shadow set members when each member is initially mounted.
The default value depends on the device type and its configuration
relative to the system mounting it. The following list of device
types is ordered by the default READ_COST assignments, from the
lowest cost to the highest cost: - DECram
device

- Directly connected device
in the same physical location

- Directly connected device
in a remote location

- DECram served device

- Default value for other served
devices
The value supplied
by the /READ_COST qualifier overrides the default assignment. The
shadowing driver adds the value of the current queue depth of the
shadow set member to the READ_COST value and then reads from the member
with the lowest value.
Different systems in the cluster
can assign different costs to each shadow set member.
If
the /SITE command qualifier has been specified, the shadowing driver
takes site values into account when it assigns default READ_COST
values. In order for the shadowing software to determine whether
a device is in the category of "directly connected device
in a remote location," the /SITE command qualifier must
have been applied to both the shadow set and the shadow set member.
Reads
requested for a shadow set from a system at site 1 are performed
from a shadow set member that is also at site 1. Reads requested
for the same shadow set from site 2 can read from the member located
at site 2.
After you have applied this qualifier to
a member, the setting remains in effect as long as the member is
part of the shadow set. If the member is removed from the shadow
set and later returned, this qualifier must be specified again.
|
/READ_COST=n DSAnnnn
|
The valid range for n is any number.
The value supplied has no inherent meaning. The purpose of this
qualifier is to switch the read cost setting for all shadow set
members back to the default read cost settings established automatically
by the shadowing software. The specified shadow set (DSAnnnn) must
be mounted on the node where the command is issued.
|
/SITE = (n, logical-name) (ddcu:, DSAnnnn: )
|
Indicates to the shadowing driver the
site location of the specified shadow set (DSAnnnn:)
or shadow set member (ddcu:).
The
SHADOW_SITE_ID system parameter defines the default site location
of the shadow set. You can override the default location of the
shadow set with the /SITE qualifier.
To simplify
the use of this qualifier, you can define logical names for the
site locations in the SYLOGICALS.COM command procedure prior to
using /SITE. (This qualifier is also available with the SET SHADOW
command, although SET SHADOW does not support the use of logical
names.)
The valid range for the site location, represented
by n, is 1 through 255.
After
you apply this qualifier, the setting remains in effect until you
change it either with this command or with the SET SHADOW/SITE command.
If the member is removed from the shadow set and later returned,
this qualifier must be specified again.
The following
example first shows how to define the site locations and then shows
how to use the /SITE qualifier:
$ DEFINE/SYSTEM/EXEC ZKO 1
$ DEFINE/SYSTEM/EXEC LKG 2
$ !
$ ! At the ZKO site ... $ MOUNT/SYSTEM DSA0:/SHAD=($1$DGA0:,$1$DGA1:) TEST
$ SET DEVICE/SITE=ZKO DSA0:
$ !
$ At the LKG site...
$ MOUNT/SYSTEM DSA0:/SHAD=($1$DGA0:,$1$DGA1:) TEST
$ SET DEVICE/SITE=LKG DSA0:
$ !
$ ! At both sites, the following would be used:
$ SET SHADOW/SITE=ZKO $1$DGA0:
$ SET SHADOW/SITE=LKG $1$DGA1:
In this example, $1$DGA0: is the physically
local device and will be the preferred device for reads.
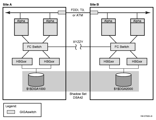
In
a Fibre Channel configuration, shadow set members at different sites
are directly attached to the system. The distinction of local and
remote for multiple-site Fibre Channel configurations does not exist
for the Volume Shadowing and cluster software.
|
To prevent the shadowing driver from automatically recovering
shadow sets from connection-related failures, you must perform the
following three configuration tasks prior to any failure:
For the purpose of this example, Site A will be the sole site
chosen to retain access to the shadow set.
The following steps must be taken to recover the shadow set
at Site A.